Hyundai Santa Fe (TM): IMS (Integrated Memory) / IMS Control Switch. Repair procedures

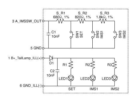
Inspection
1.
Disconnect the IMS control switch connector.

2.
With the power IMS control switch in each position, make sure that continuity exists between the terminals below. If continuity is not as specified, replace the IMS control switch.

Removal
1.
Disconnect the negative (-) battery terminal.
2.
Remove the front door trim.
(Refer to Body - "Front Door Trim")
3.
Disconnect the IMS switch connector and then remove the IMS switch (A).

Installation
  
–
Make sure that the IMS control switch connectors and related connectors are plugged in properly.
–
Check the IMS control switch operates normally.
1.
Connect the connectors and reassemble the IMS control switch.
2.
Reassemble the front door trim.

    Components

    Other information:

    Hyundai Santa Fe (TM) 2019-2023 Service and Repair Manual: Troubleshooting

    Trouble Symptom Charts Trouble Symptom 1 Trouble Symptom 2 Trouble symptom Probable cause Remedy The set vehicle speed varies greatly upward or downward "Surging" (repeated alternating acceleration and deceleration) occurs after set

    Hyundai Santa Fe (TM) 2019-2023 Service and Repair Manual: Remote Smart Parking Assist (RSPA). Schematic diagrams

    Categories

     
    Copyright © 2025 www.hsafe4.com - 0.0169