| Description and operation |
The System may be limited when
|
| A Type (Front rader none apply) |

| B Type (Front rader apply) |

|
| 1. |
FCA : Forward Collision-avoidance Assist
|
| 2. |
SCC : Smart Cruise Control
|
| 1. |
Control on curves
|
| 2. |
Warning alarm
If the vehicle equipped the SCC decelerates because a vehicle ahead
decelerates or moves into your lane, the warning will operate.
|
| 3. |
Accelerating by driver
Even the vehicle is being decelerated by the SCC system, the vehicle
can be accelerated by applying the accelerator pedal. If the vehicle
is accelerated above the set speed, the indicator in the cluster will
blink.
|
| 4. |
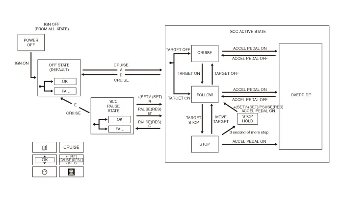
Function of cruise control
|
| 5. |
(1) If vehicle speed is high, Highway Curve Zone Auto Slowdown function
will temporarily decelerate your vehicle or limit acceleration to help
you drive safely on a curve based on the curve information from the
navigation.
(2) If vehicle speed is high, Highway Curve Zone Auto Slowdown function
will temporarily decelerate your vehicle or limit acceleration to help
you drive safely on a curve based on the curve information from the
navigation.
|
| 6. |
As a Smart Cruise Control, it prevents collision or slows down collision
speed by alerting drivers and performing emergency braking while driving.
|
| 7. |
Highway Driving Assist (HDA) function
It is a driving convenience system that controls the steering and speed
to keep the safe distance from the vehicle ahead and to prevent lane
departure on highway while Smart Cruise Control is operating.
|
| 1. |
Basic specification (front camera applied)
The time indicated will be changed according to vehicle speeds.
|
| 1. |
Smart cruise control operating mode.
|
| 2. |
Smart cruise control operating conditions.
|
| 3. |
Smart cruise control disabling conditions
|
General Safety Information and Caution 1. Be careful when driving the vehicle using the smart cruise control system as follows.
Components Location 1. Front radar unit 2. Smart cruise control switch 3. AVN Monitor
Description and operation Description Emergency Call (eCall) When an accident occurs or the user's request is detected, it notifies the call center of the vehicle status using the wireless network so that the center can provide necessary emergency service.
Description and operation Description Back view camera will activate when the backup light is ON with the ignition switch ON and the shift lever in the R position. This system is a supplemental system that shows behind the vehicle through the H/UNIT or the ECM (Reverse Display Room Mirror) mirror while backing-up.