| Description |
| 1. |
The forward facing sensor sees if the brightness of the surroundings
is low enough for the mirror to operate its function.
|
| 2. |
The rearward looking sensor detects glaring of the reflecting light
from a vehicle behind.
|
| 3. |
The ECM is darkened to the level as determined by the rearward looking
sensor. When the glaring is no longer detected, the mirror stops functioning.
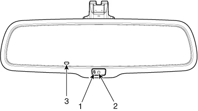
(1. LED indicator , 2. ON/OFF Switch , 3. Rearward looking sensor ,
4. Forward looking sensor )
|
| Automatic-dimming Function |
| 1. |
Pressing and holding the Feature Control button for more than 3 but
less than 6 seconds turns the auto-dimming function OFF which is indicated
by the green Status Indicator LED turning off.
|
| 2. |
Pressing and holding the Feature Control button again for more than
3 but less than 6 seconds turns the auto-dimming function ON which is
indicated by the green Status Indicator LED turning on.
|
| Components |

| Inspection |
| 1. |
Turn the ignition key to the "ON" position.
|
| 2. |
Cover the forward facing sensor.
|
| 3. |
Head a light to the rearward looking sensor.
|
| 4. |
The ECM should be darkened as soon as the rearward looking sensor detects
the light.
|
| 5. |
When the reverse gear is engaged, the ECM should not be darkened.
When heading lights to both the forward facing and rearward looking
sensors, the ECM should not be darkened.
|
| Removal |
| 1. |
Disconnect the negative (-) battery terminal.
|
| 2. |
Remove the mirror wiring cover (A) and (B).
|
| 3. |
Remove the mirror mounting screw and connector (A).
|
| 4. |
Remove the mirror pulling up in the arrow direction.
|
| Installation |
| 1. |
Install the mirror making sure the mounting bracket not to be damaged.
|
| 2. |
Install the mirror wiring cover after reconnecting the connector and
tightening the screw.
|
Components and components location Component Location 1. Rear wiper arm nut 2. Rear wiper arm & blade 3.
Components and components location Component Location 1. Panorama sunroof 2. Panorama sunroof switch 3. Panorama sunroof motor & controller 4.
Components and components location Component Location 1. Horn switch 2. Horn relay (Engine room compartment) 3. Horn (Low pitch) 4. Horn (High pitch) 5. Clock spring Repair procedures Removal 1.
Description The photo sensor is located at the center of the defrost nozzles. The photo sensor contains a photovoltaic (sensitive to sunlight) diode. The solar radiation received by its light receiving portion, generates an electromotive force in proportion to the amount of radiation received which is transferred to th