Hyundai Santa Fe (TM): Electro Chromic Inside Rear View Mirror / Description and operation

Description
The ECM (Electro Chromatic inside rear view Mirror) is intended dim the reflecting light in the rear view mirror. The forward facing sensor detects brightness of the surroundings, while the rearward looking sensor is for the light from the rear. The strength of the light in the rear sensor is used by the mirror to adjust the shading. It ranges from 7 to 85%. When the reverse gear is engaged, it stops functioning.
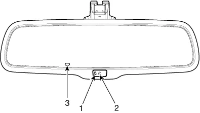
1.
The forward facing sensor sees if the brightness of the surroundings is low enough for the mirror to operate its function.
2.
The rearward looking sensor detects glaring of the reflecting light from a vehicle behind.
3.
The ECM is darkened to the level as determined by the rearward looking sensor. When the glaring is no longer detected, the mirror stops functioning.
(1. LED indicator , 2. ON/OFF Switch , 3. Rearward looking sensor , 4. Forward looking sensor )

Automatic-dimming Function
To protect your vision during nighttime driving, your mirror will automatically dim upon detecting glare from the vehicles traveling behind you. The auto-dimming function can be controlled by the Dimming ON/OFF Button :
1.
Pressing and holding the Feature Control button for more than 3 but less than 6 seconds turns the auto-dimming function OFF which is indicated by the green Status Indicator LED turning off.
2.
Pressing and holding the Feature Control button again for more than 3 but less than 6 seconds turns the auto-dimming function ON which is indicated by the green Status Indicator LED turning on.
  
The mirror defaults to the "ON" position each time the vehicle is started.

    Components

    Other information:

    Hyundai Santa Fe (TM) 2019-2023 Service and Repair Manual: Power Mosfet (DATC). Repair procedures

    Inspection 1. Turn the ignition switch ON. 2. Manually operate the control switch and measure the voltage of the blower motor. 3. Select the control switch to raise the voltage until high speed.

    Hyundai Santa Fe (TM) 2019-2023 Service and Repair Manual: Description and operation

    Description and operation    The System may be limited when • The radar sensor or camera is blocked with a foreign object or debris.

     
    Copyright © 2025 www.hsafe4.com - 0.0149