Hyundai Santa Fe (TM): Brake System / Brake Pad. Repair procedures

Replacement
  
•
Be careful not to damage the parts located under the vehicle (floor under cover, fuel filter, fuel tank and canister) when raising the vehicle using the lift.
(Refer to General Information - "Lift and Support Points")
Front Brake Pad
1.
Loosen the wheel nuts slightly.
Raise the vehicle, and make sure it is securely supported.
2.
Remove the front wheel and tire (A) from front hub.
  
•
Be careful not to damage the hub bolts when removing the front wheel and tire (A).

3.
Up the brake caliper body (A) by loosening the guided rod bolt.
Tightening torque :
37.3 - 41.2 N.m (3.8 - 4.2 kgf.m, 27.5 - 30.4 lb-ft)

4.
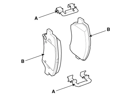
Remove the brake pad (A).

5.
Replace the pad liner (A) with a new one.

  
•
Brake apply a small amount of grease to the areas marked with "X" on both ends of the new product.
(Be careful as excessive coating may cause noise due to contamination on the disk or friction material.)

6.
Replace the brake pad (A) with a new one.

  
•
When installing, use a new one return spring (A), pad retainer (B), inner shim (C).

7.
Use a SST (09581-11000) when installing the brake caliper assembly.

8.
Install the caliper body (A) then tighten the guide rod bolt.
Tightening torque :
37.3 - 41.2 N.m (3.8 - 4.2 kgf.m, 27.5 - 30.4 lb-ft)

9.
Install the front wheel and tire (A).
Tightening torque :
107.8 - 127.4 N.m (11.0 - 13.0 kgf.m, 79.5 - 94.0 lb-ft)

Rear Brake Pad
1.
 Before removing the rear caliper, perform "Brake Pad Replacement Mode" using the self-diagnosis.

2.
Select C2 (Release) on the screen below.

3.
Loosen the wheel nuts slightly.
Raise the vehicle, and make sure it is securely supported.
4.
Remove the rear wheel and tire (A) from the rear hub.
  
•
Be careful not to damage the hub bolts when removing the rear wheel and tire (A).

5.
Disconnect the EPB actuator connector (A).

6.
Remove the caliper body (A) after loosening the guide rod bolt.

7.
Remove the brake pad (A).

8.
Replace the pad liner (A) with a new one.

9.
Replace the brake pad (A) with a new one.

  
•
When installing, use a new one pad retainer (A), brake pad (B).

10.
Rotate the caliper piston and push the direction of the arrow.

11.
Install the caliper body (A) then tighten the guide rod bolt.
Tightening torque :
37.3 - 41.2 N.m (3.8 - 4.2 kgf.m, 27.5 - 30.4 lb-ft)

12.
Install the rear wheel and tire (A).
Tightening torque :
107.9 - 127.5 N.m (11.0 - 13.0 kgf.m 79.6 - 94.0 lb-ft)
  
•
Be careful not to damage the hub bolts when removing the rear wheel and tire (A).

13.
After replacing the brake pad (EPB applied), perform "Brake Pad Replacement Mode" using the self-diagnosis.

14.
 Select C1 (Apply) on the screen below.

  
•
After replacing the brake pad is complete, make sure to repeat engagement/disengagement 3 times at "Brake Pad Replacement Mode".
15.
After replacing the brake pad, make sure that the caliper is installed correctly by performing "Check assembling (ECU replaced)" from the optional function.

Inspection
Front Brake Pad Check
1.
Check the pad wear. Measure the pad thickness and replace it, if it is less than the specified value.
Front brake disc thickness Pad thickness
- Standard : 11 mm (0.43 in)
- Service Limit : 2.0 mm (0.78 in)

2.
Check that grease is applied, to sliding contact points and the pad and backing metal for damage.
Rear Brake Pad Check
1.
Check the pad wear. Measure the pad thickness and replace it, if it is less than the specified value.
Pad thickness
Standard value [EPB type] : 10.0 mm (0.39 in)
Service limit [EPB type] : 2.0 mm (0.08 in)
2.
Check the damage of pad, backing metal and contamination with grease.

    Removal    • Be careful not to damage the parts located under the vehicle (floor under cover, fuel filter, fuel tank and canister) when raising the vehicle using the lift.

    Components 1. Brake member assembly 2. Stop lamp switch 3. Brake pedal arm assembly 4. Brake pedal pad

    Other information:

    Hyundai Santa Fe (TM) 2019-2023 Service and Repair Manual: Rear Wiper/Washer

    Components and components location Component Location 1. Rear wiper arm nut 2. Rear wiper arm & blade 3. Rear wiper grommet 4. Rear wiper motor assembly Rear Wiper Motor. Repair procedures Inspection Rear Wiper Motor 1.

    Hyundai Santa Fe (TM) 2019-2023 Service and Repair Manual: Auto Lighting Control System

    Description and operation Description It's a system that uses illumination sensor to automatically turn ON the tail lamp and head lamp based on the change in surrounding environment's illumination condition. It activates when the vehicle enters/exits tunnel, or when the illumination condition in surrounding environ

    Categories

     
    Copyright © 2026 www.hsafe4.com - 0.0274