| Schematic Diagrams |

Troubleshooting Trouble symptom Probable cause Remedy Engine will not start or is hard to start (Cranks OK) Ignition lock switch Inspect ignition lock switch, or replace as required Ignition coil Inspect ignition coil, or replace as required Spark plugs Inspect spark plugs, or replace as required Ignition wiring disconnected or broken Repair wiring, or replace as required Rough idle or stalls Ignition wiring Repair wiring, or replace as required Ignition coil Inspect ignition coil, or replace as required Engine hesitates/poor acceleration Spark plugs and spark plug cables Inspect spark plugs / cable, or replace as required Ignition wiring Repair wiring, or replace as required Poor mileage Spark plugs and spark plug cables Inspect spark plugs / cable, or replace as required
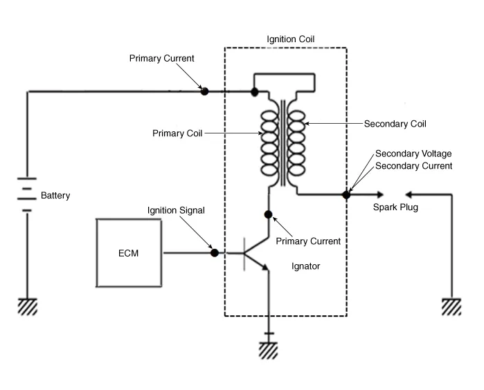
On-vehicle Inspection Inspect ignition coil assembly and Perform spark test 1. Check for DTCs. • If a DTC is present, perform troubleshooting in accordance with the procedure for that DTC.
Inspection Operating Logic Test (Manual only) Inspect the PTC operation with the confirmation logic below : 1. Entering (1) Set the mode to FLOOR. (2) Set the temperature to MAX HOT.
Inspection 1. Connect the battery voltage and check the blower motor rotation. 2. If the blower motor does not operate well, substitute with a known-good blower motor and check for proper operation.