Hyundai Santa Fe (TM): Engine Electrical System / Ignition System

Description and operation

Description
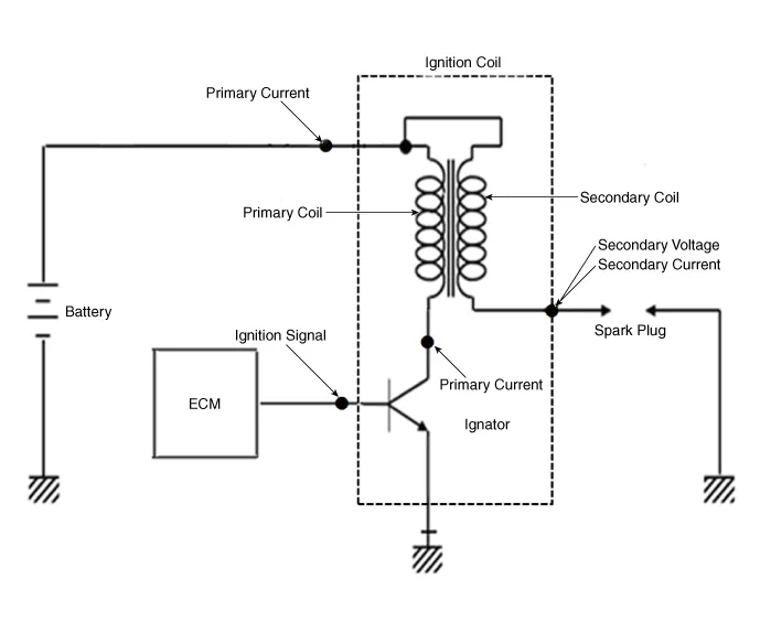
The ignition coil is a kind of small transformer that transforms the battery voltage to 30 kV or more to create a spark in the spark plug gap in the cylinder.
The igniter embedded in the ignition coil includes the power transistor and it is an electronic switch whose electric current is controlled by the Engine Control Module (ECM) signal.
The ignition timing is controlled by the ECM and the standard ignition timing data depending on the engine operating condition is stored in the ECM memory.
The engine operating conditions (speed, load, warm-up state, etc.) are detected by the various sensors.
Based on these sensor signals and the ignition timing data, when the ECM applies the ignition signal to the ignition coil for a certain period of time, igniter is energized and current flows and rises gradually to the primary coil and the magnetic filed is produced.
When the current in the primary coil is cut off by the ignition signal of the ECM, the rapid change of the magnetic flux by the mutual induction action is induced to the secondary coil and high voltage is generated depending on the coil winding ratio.
This high voltage generated from the secondary coil is caught in the spark plug gap and discharges as the electric field is destroyed to generate a spark.

Troubleshooting

Troubleshooting
Trouble symptom
Probable cause
Remedy
Engine will not start or is hard to
start (Cranks OK)
Ignition lock switch
Inspect ignition lock switch, or replace as required
Ignition coil
Inspect ignition coil, or replace as required
Spark plugs
Inspect spark plugs, or replace as required
Ignition wiring disconnected or broken
Repair wiring, or replace as required
Rough idle or stalls
Ignition wiring
Repair wiring, or replace as required
Ignition coil
Inspect ignition coil, or replace as required
Engine hesitates/poor acceleration
Spark plugs and spark plug cables
Inspect spark plugs / cable, or replace as required
Ignition wiring
Repair wiring, or replace as required
Poor mileage
Spark plugs and spark plug cables
Inspect spark plugs / cable, or replace as required

Schematic diagrams

Schematic Diagrams

Repair procedures

On-vehicle Inspection
Inspect ignition coil assembly and Perform spark test
1.
Check for DTCs.
  
•
If a DTC is present, perform troubleshooting in accordance with the procedure for that DTC.
(Refer to DTC guide)
2.
Check if sparks occur.
â–  Without diagnostic tool
(1)
Remove the engine cover.
(Refer to Engine Mechanical System - "Engine Cover")
(2)
Remove the ignition coils.
(Refer to Ignition System - "Ignition Coil")
(3)
Using a spark plug wrench, remove the spark plugs.
(Refer to Ignition System - "Spark Plug")
(4)
Connect the connector after install the spark plug to ignition coil.
(5)
Ground the spark plug to the engine.

(6)
Check if sparks occur at each spark plug while engine is being cranked.
  
•
Do not crank the engine for more then 5 seconds.
â–  With diagnostic tool
(7)
Remove the engine cover.
(Refer to Engine Mechanical System - "Engine Cover")
(8)
Remove the ignition coils.
(Refer to Ignition System - "Ignition Coil")
(9)
Using a spark plug wrench, remove the spark plugs.
(Refer to Ignition System - "Spark Plug")
(10)
Connect the diagnostic tool to data link connector (DLC).
(11)
Turn the ignition switch ON.
(12)
Select "Vehicle, Model year, Engine, System".
(13)
Select "Actuation Test".
(14)
Select "Ignition Coil Enable/Disable-#1, #2, #3, #4".

  
•
Do not crank the engine for more then 5 seconds.
3.
If sparks do not occur, perform the following test.

4.
Using a spark plug wrench, install spark plugs.
(Refer to Ignition System - "Spark Plug")
5.
Install the ignition coils.
(Refer to Ignition System - "Ignition Coil")
6.
Install the engine cover.
(Refer to Engine Mechanical System - "Engine Cover")

Ignition Coil

Description and operation

Description
The ignition coil is mounted on the top side of the cylinder head cover end. The ignition coil consists of the primary coil that receives battery power and the secondary coil that generates high voltage.
When the current in the primary coil is cut off by the ignition signal of the ECM, the rapid change of the magnetic flux by the mutual induction action is induced to the secondary coil and high voltage is generated depending on the coil winding ratio.
This high voltage generated from the secondary coil is caught in the spark plug gap and discharges as the electric field is destroyed to generate a spark.

Troubleshooting

Troubleshooting
Connector assembly status test
1.
Remove the ignition coil connectors (A) and reinstall it.

Test for changing position of each ignition coil
A : Ignition coil w/ misfire code
B : Ignition coil w/o misfire code
  
•
Do not move with spark plug at the same time (move the ignition coil only)

Specifications

Specification
Item
Specification
Rated Voltage (V)
13.5V
Secondary Coil [Engine 1000RPM standard]
Input voltage (V)
13.5V
Dwell Time (ms)
4.0 - 4.6
Spark current (mA)
Min. 90
Spark duration time (ms)
Min. 2.0
Igniter voltage (V)
400 - 500
Pin
4

Item
Specification
Engine Speed (RPM)
1000
2000
3000
4000
5000
6000
7000
Dwell Time (ms)
4.7
4.7
4.1
3.4
3.1
2.8
2.7
Secondary Coil Voltage (kV)
41
41
41
40
38
36
35

Schematic diagrams

Circuit Diagram

Ignition Coil Connector Terminal Function
Ignition Coil Terminal Function
*Connected to number
Ignition Coil #1 (Cylinder #1)
Pin No
Description
Connected to
1
Ground
Chassic
2
Ignition Coil #1 Control
ECM Connector [93]
3
Ignition Coil #1/#4 Feedback
 ECM Connector [82]
4
Battery Power (B+)
Main Relay

Ignition Coil #2 (Cylinder #2)
Pin No
Description
Connected to
1
Ground
Chassic
2
Ignition Coil #2 Control
ECM Connector [47]
3
Ignition Coil #2/#3 Feedback
 ECM Connector [105]
4
Battery Power (B+)
Main Relay

Ignition Coil #3 (Cylinder #3)
Pin No
Description
Connected to
1
Ground
Chassic
2
Ignition Coil #3 Control
ECM Connector [116]
3
Ignition Coil #2/#3 Feedback
 ECM Connector [105]
4
Battery Power (B+)
Main Relay

Ignition Coil #4 (Cylinder #4)
Pin No
Description
Connected to
1
Ground
Chassic
2
Ignition Coil #4 Control
ECM Connector [24]
3
Ignition Coil #1/#4 Feedback
 ECM Connector [82]
4
Battery Power (B+)
Main Relay

Repair procedures

Removal
1.
Turn the ignition switch OFF and disconnect the battery (-) terminal.
2.
Remove the engine cover.
(Refer to Engine Mechanical System - "Engine Cover")
3.
Remove the ignition coil connectors (A).

  
•
When removing the ignition coil connector, pull the lock pin (A) and push the clip.

4.
Remove the ignition coils (A).
Tightening torque :
9.8 - 11.8 N.m (1.0 - 1.2 kgf.m, 7.2 - 8.7 Ib-ft)

Installation
1.
Install in the reverse order of removal.
Cleaning
Cleaning work is required to prevent the problem of contamination of the spark plug insulator by foreign substances attached to the bottom of the ignition coil boot.
1.
Prepare the soft cloth.
2.
Wipe the contaminants inside and outside the bottom of the ignition coil boot with the soft cloth as shown in the following figure.

  
•
The cloth should be clean, free of contaminants, and soft enough to not damage the parts.

Spark Plug. Description and operation

Description
A spark plug is a device for delivering electric current from an ignition system to the combustion chamber of a spark-ignition engine to ignite the compressed fuel/air mixture therein by means of an electric spark, while containing combustion pressure within the engine. A spark plug has a metal threaded shell, electrically isolated from a central electrode by a porcelain insulator.

Spark Plug. Specifications

Specification
Item
Specification
Type
SILZKR7K11S
SILZKR8J9GS
Gap
1.0 - 1.1 mm
(0.0394 - 0.0433 in.)
0.8 - 0.9 mm
(0.0315 - 0.0354in.)
Electrode Material
IRIDIUM

Spark Plug. Repair procedures

Inspection
[On vehicle inspection]
1.
Accelerate the engine to about 3,000 rpm 3 times or more.
2.
Remove the spark plug.
(Refer to Spark Plug - "Removal")
3.
Check the spark plug visually.
If the electrode is dry, the spark plug is normal.
If the electrode is wet, check for damage and inspect the electrode gap as follows.
[Component Inspection]
1.
Check the spark plug for any damage on its thread and insulator.
If there is damage, replace the spark plug.
2.
Check the electrode. Measure the insulation resistance with an ohmmeter.
If the resistance is less than the specified value, adjust the electrode gap.
Specification : 10 MΩ or more

3.
Check the spark plug electrode gap.
If the gap is greater than the maximum, replace the spark plug.
Specification
SILZKR7K11S : 1.0 - 1.1 mm (0.0394 - 0.0433 in.)
SILZKR8J9GS : 0.8 - 0.9 mm (0.0315 - 0.0354in.)
  
•
When adjusting the gap of a new spark plug, bend only the base of the ground electrode. Do not touch the tip.
Never attempt to adjust the gap on a used plug.

Cleaning (1)
Cleaning work is required to prevent the problem of contamination of the spark plug insulator by foreign substances attached to the bottom of the ignition coil boot.
1.
Prepare the soft cloth.
2.
Wipe the contaminants of the spark plug insulator with the soft cloth as shown in the following figure.

  
•
The cloth should be clean, free of contaminants, and soft enough to not damage the parts.
Cleaning (2)
The combustion temporarily becomes unstable, due to the aged fuel and the carbon deposits accumulated on the spark plug(s) after long-term storage.
[1st Method]
1.
Start the engine and keep the engine running at idle for 2 minutes.
2.
Step on the accelerator pedal and hold it steady at 4500 rpm with the shift lever in N position to warm up  the engine until the temperature of the engine coolant reaches 80°C.
3.
Keep the engine running at 2500 - 3000 rpm in the N position for 15 minutes.

[2nd Method]
  
•
The 2nd method should be performed only if the 1st method fails (the misfire-related codes recur).
1.
Start the engine and keep the engine running at idle for 2 minutes.
2.
Drive the vehicle for over 20 minutes, keeping the engine speed above 3500 rpm.
  
•
If equipped with manual transaxle, shift the gear properly for keeping the engine speed above 3500 rpm.

Removal
1.
Remove the ignition coil.
(Refer to Engine Electrical System - "Ignition Coil")
2.
Using a spark plug wrench, remove the spark plugs (A).
Tightening torque :
14.7 - 24.5 N.m (1.5 - 2.5 kgf.m, 10.8 - 18.1 Ib-ft)

  
•
Be careful that no contaminates enter into spark plug holes.
Installation
1.
Install in the reverse order of removal.

    Description and operation Description The starting system includes the battery, starter, solenoid switch, ignition switch, ignition lock switch, connection wires and the battery cable.

    Description and operation Description Emissions Control System consists of three major systems. • The Crankcase Emission Control System prevents blow-by gas from releasing into the atmosphere.

    Other information:

    Hyundai Santa Fe (TM) 2019-2023 Service and Repair Manual: Specifications

    Specification Air Conditioner Item Specification Compressor Type 7HVe17 Oil type & Capacity Single (Front only) FD46XG(IDMITSU) 100± 10cc (3.

    Hyundai Santa Fe (TM) 2019-2023 Service and Repair Manual: In-car Sensor. Description and operation

    Description The In-car air temperature sensor is built in the heater & A/C control unit. The sensor consists of a thermistor that measures the inside temperature. The signal decided by the resistance value that changes in accordance with perceived inside temperature, is delivered to heater control unit, and according t

    Categories

     
    Copyright © 2026 www.hsafe4.com - 0.0217