| Description |

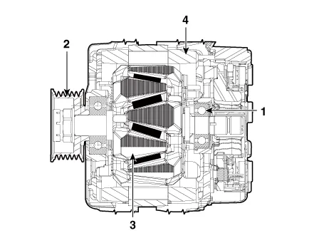
| 1. Brush 2. Drive belt pully 3. Rotor 4. Stator |
Inspection Inspection Item • Battery efficiency inspection • Battery voltage inspection • Charging voltage insptection • General inspection • Terminal tightening state inspection • Engine/ transaxle ground state inspection • Wiring harness ground state inspection • Electrical Specified Value Inspection • Vehicle parasitic current inspection • Battery capacity inspection Battery Efficiency Inspection • Check that the battery cables are connected to the correct terminals.
Specification Item Specification Rated voltage 13.5V , 130A Speed in use 1,000 - 18,000rpm Pin 1 (LIN) Pulley Type OAP pulley
Description The In-car air temperature sensor is built in the heater & A/C control unit. The sensor consists of a thermistor that measures the inside temperature. The signal decided by the resistance value that changes in accordance with perceived inside temperature, is delivered to heater control unit, and according t
General Safety Information and Caution 1. Be careful when driving the vehicle using the smart cruise control system as follows. (1) On curves or inclines/declines • The smart cruise control system may have limits