Hyundai Santa Fe (TM): Body Electrical System / Lighting System

Components and components location

Component Location

1. Head lamp (Low)
2. Head lamp (High)
3. Daytime running light (DRL)/Positioning lamp
4. Turn signal lamp
5. Head lamp (ADD Low)
6. Side repeater lamp
7. Overhead console lamp
8. Vanity lamp
9. Room lamp
10. Luggage lamp

1. Stop/Tail lamp
2. Tail lamp
3. Stop lamp
4. Back up lamp
5. Turn signal lamp
6. License plate lamp
7. High mounting stop lamp
8. Rear fog lamp

Troubleshooting

Troubleshooting
Symptom
Possible cause
Remedy
One lamp does not light
(all exterior)
Bulb burned out
Replace bulb
Socket, wiring or ground faulty
Repair if necessary
Head lamps do not light
Bulb burned out
Replace bulb
Ignition fuse (LOW:10A, HIGH:20A) blown
Check for short and replace fuse
Head lamp fuse (15A) blown
Check for short and replace fuse
Head lamp relay faulty
Check relay
Lighting switch faulty
Check switch
Wiring or ground faulty
Repair if necessary
Tail lamps and license plate lamps do not light
Bulb burned out
Replace bulb
Tail lamp fuse (10A) blown
Check for short and replace fuse
Tail lamp relay faulty
Check relay
Lighting switch faulty
Check switch
Wiring or ground faulty
Repair if necessary
Stop lamps do not light
Bulb burned out
Replace bulb
Stop lamp fuse (15A) blown
Check for short and replace fuse
Stop lamp switch faulty
Adjust or replace switch
Wiring or ground faulty
Repair if necessary
Stop lamps do not turn off
Stop lamp switch faulty
Repair or replace switch
Instrument lamps do not light
(Tail lamps light)
Rheostat faulty
Check rheostat
Wiring or ground faulty
Repair if necessary
Turn signal lamp does not flash on one side
Bulb burned out
Replace bulb
Turn signal switch faulty
Check switch
Wiring or ground faulty
Repair if necessary
Turn signal lamps do not light
Bulb burned out
Replace bulb
Turn signal lamp fuse (10A) blown
Check for short and replace fuse
Flasher unit faulty
Check flasher unit
Turn signal switch faulty
Check switch
Wiring or ground faulty
Repair if necessary
Hazard warning lamps do not light
Bulb burned out
Replace bulb
Hazard warning lamp fuse (15A) blown
Check for short and replace fuse
Flasher unit faulty
Check flasher unit
Hazard switch faulty
Check switch
Wiring or ground faulty
Repair if necessary
Flasher rate too slow or too fast
Lamps' wattages are smaller or larger than specified
Replace lamps
Flasher unit faulty
Check flasher unit
Back up lamps do not light
Bulb burned out
Replace bulb
Back up lamp fuse (10A) blown
Check for short and replace fuse
Back up lamp switch (M/T) faulty
Check switch
Transaxle range switch (A/T) faulty
Check switch
Wiring or ground faulty
Repair if necessary
Room lamp does not light
Bulb burned out
Replace bulb
Room lamp fuse (10A) blown
Check for short and replace fuse
Room lamp switch faulty
Check switch
Wiring or ground faulty
Repair if necessary
Rear fog lamps do not light
Bulb burned out
Replace bulb
Rear fog lamp fuse blown
Check for short and replace fuse
Rear fog lamp relay faulty
Check relay
Rear fog lamp switch faulty
Check switch
Wiring or ground faulty
Repair if necessary
Wiring or ground faulty
Repair if necessary
Map lamp does not light
Bulb burned out
Replace bulb
Room lamp fuse (10A) blown
Check for short and replace fuse
Map lamp switch faulty
Check switch
Wiring or ground faulty
Repair if necessary
Trunk room lamp does not light
Bulb burned out
Replace bulb
Room lamp fuse (10A) blown
Check for short and replace fuse
Trunk room lamp switch faulty
Check switch
Wiring or ground faulty
Repair if necessary

Specifications

Specifications
Items
Bulb Type
Bulb Wattage (W)
Front
Head lamp
(STD)
Low
LED
LED
High
LED
LED
Head lamp
(Option)
Low
LED
LED
High
LED
LED
Turn signal lamp (STD)
PY21W
21
Turn signal lamp
Standard
PY21W
21
Option
LED
LED
Position lamp
LED
LED
Daytime Running Lamp (DRL)
LED
LED
Door mirror turn signal lamp
LED
LED
Rear
High mounted stop lamp
LED
LED
Rear combination lamp
(STD)
Stop/ Tail lamp
PY21/5W
21
Tail lamp
W5W
5
Rear combination lamp
(Option)
Stop
LED
LED
Tail lamp
LED
LED
Turn signal lamp
PY21W
21
Rear fog lamp
LED
LED
Back up lamp
W16W
16
License plate lamp
W5W
5
Cargo lamp
FESTOON
5
Map lamp
FESTOON
STD : 10 / LED
Room lamp
FESTOON
10
Vanity lamp
FESTOON
5

Head Lamps. Repair procedures

Removal
  
Head lamps become very hot during use; do not touch them or any attaching hardware immediately after they have been turned off.
  
The headlamp bulb should not be removed from the headlamp assembly until just before a new bulb is installed.
Removing bulb for an extended period of time may affect headlamp bulb performance.
Contaminants may enter the headlamp assembly where they can settle on the lens and reflector.
Never turn on the head lamps with the bulb removed from the headlamp assembly.
1.
Disconnect the negative (-) battery terminal.
2.
Remove the front bumper cover.
(Refer to Body - "Front Bumper Cover")
3.
Disconnecting the lamp connectors (A).

4.
Loosen the mounting bolts and then remove the head lamp assembly (A).

  
Take care that retaining clip (A) is not to be damaged.
5.
Disconnect the connector and then remove the bulb.
[Moisture absorbent of the head lamp]
1.
Unfasten the screws and then replace the moisture-absorbing agent .

  
•
Fold the moisture absorber as in the illustration below.

•
When installation, install it in the same direction before removing.
Installation
1.
Install the head lamp bulbs.
2.
Reassemble the head lamp bulb covers.
3.
Reassemble the head lamp assembly after connecting the lamp connector.
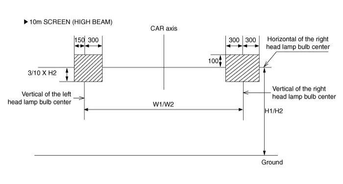
Head Lamp Aiming Instructions
1.
Alternately turn the adjusting gear to adjust the head lamp aiming. If beam-setting equipment is not available, proceed as follows :
2.
The vehicle should be placed on a flat ground.s
3.
Draw vertical lines (Vertical lines passing through respective head lamp centers) and a horizontal line (Horizontal line passing through center of head lamps) on the screen.
4.
With the head lamp and battery in normal condition, aim the head lamps so the brightest portion falls on the horizontal and vertical lines.
A : Horizontal (Low beam)
B : Vertical (High beam / Low beam)
STD (LED MFR)

OPT (LED PROJ)

Head Lamp And Fog Lamp Aiming Point

Option
Vehicle Condition
H1
H2
W1
W2
L
LED MFR
Without driver
788.6
718
1518
1209
Refer to aiming condition
With driver
783.6
713
LED Projection
Without driver
775.6
774.9
1524
1216
With driver
770.6
769.9

1.
Head Lamp (Low beam)
–
With the low beam turned on, adjust the cut-off line to be located as shown in the picture below.
–
If head lamp leveling device is equipped, adjust the head lamp leveling device switch with 0 positions.

2.
Head Lamp (High Beam)
–
Turn the high beam on without driver aboard.
–
The cut-off line should be projected in the cut-off line shown in the picture.
–
When aiming the low beam, vertical aiming shuld be adjusted after adjusting the horizontal aiming.
–
If head lamp leveling device is equipped, adjust the head lamp leveling device switch with 0 positions.

Head lamp fogging
Check the below instruction procedure when the head lamp is fogged.

Turn Signal Lamp. Repair procedures

Removal
Outside Rear View Mirror
  
•
Put on gloves to prevent hand injuries.
•
When removing with a flat-tip screwdriver or remover, wrap protective tape around the tools to prevent damage to components.
1.
Disconnect the negative (-) battery terminal.
2.
Remove the front door trim.
(Refer to Body - "Front Door Trim")
3.
Disconnect the rear view mirror connector (A).

4.
Remove the rear view mirror cap (A).

5.
Loosen the mounting nuts and then remove the outside rear view mirror (A).

6.
Remove mirror (A) to the direction as shown in the picture using (-) screw driver.

7.
Remove the mirror cover.

8.
Loosen the outside rear view mirror mounting screw.

9.
Remove the side repeater lamp

Front Turn Signal Lamp
1.
Disconnect the negative (-) battery terminal.
2.
Remove the turn signal lamp after turning in the counterclockwise direction.

Rear Turn Signal Lamp
1.
Disconnect the negative (-) battery terminal.
2.
Remove the rear bumper.
(Refer to Body - "Rear Bumper Cover")
3.
Loosent the mounting screw and then remove the rear turn signal lamp.

4.
Remove the bulb after turning in the counterclockwise direction.

Installation
Outside Rear View Mirror Turn Signal Lamp
1.
Install the side repeater lamp.
2.
Install the mirror cover.
3.
Install the mirror.
4.
Connect the negative (-) battery terminal.
Front/Rear Turn Signal Lamp
1.
Install the front/rear turn signal lamp.
2.
Install the front/rear bumper cover.
3.
Connect the negative (-) battery terminal.

Room Lamp. Repair procedures

Inspection
1.
Remove the room lamp assembly then check for continuity between terminals.

Removal
1.
Disconnect the negative (-) battery terminal.
2.
Detach the lamp lens (A) from the room lamp with a flat-tip screwdriver.

3.
Separate the room lamp (A) from the roof trim after loosening the screws (2EA).

4.
Remove the room lamp (B) after disconnecting the connector (A).

5.
If it is necessary replace the room lamp bulb (A).

Installation
1.
Install the room lamp assembly after connecting the lamp connector.
2.
Install the lamp lens after assembling the bulb.

Overhead Console Lamp. Repair procedures

Inspection
1.
Remove the overhead console lamp assembly then check for continuity between terminals. If the continuity is not as specified, replace the map lamp switch.

Pin
Descripton
1
Door
2
-
3
Battery (+)
4
-
5
Ground
6
Room lamp

Removal
1.
Disconnect the negative (-) battery terminal.
2.
Remove the overhead console cover (A).

3.
Remove the mounting screws (2EA).
And then remove the overhead console (A).

4.
Remove the overhead console after disconnect the connector (A).

Installation
1.
Install the overhead console lamp after connecting the connector.
2.
Install the lens after tightening 2 screws.

Hazard Lamp Switch. Repair procedures

Removal
1.
Disconnct the negative (-) battery terminal.
2.
Remove the A/C contrrol unit.
(Refer to Heating, Ventilation and Air Conditioning - "Controller")
3.
Remove the hazzard lamp switch.

4.
Disconnect the connector and then remove the hazzard lamp switch.

Installation
1.
Install the hazzard lamp switch.
2.
Connect the negative (-) battery terminal.

Rheostat. Components and components location

Components

Rheostat. Repair procedures

Inspection
1.
Disconnect the negative (-) battery terminal.
2.
Remove the crash pad lower panel.
(Refer to Body - "Crash Pad Lower Panel")
3.
Loosen the mounting screw, remove the crash pad garnish [LH] (A).

4.
Press the lock pin, separate the connector (A).

5.
Remove the rheostat switch (A) after loosening mounting screws.

Installation
1.
Install the rheostat switch.
2.
Install the crash pad garnish [LH]
3.
Connect the negative (-) battery terminal.

License Lamps. Repair procedures

Removal
1.
Disconnect the negative (-) battery terminal.
2.
Remove the license lamp lens (A) from the panel after loosening a screw.

3.
Replace the bulb (B) after removing the license lamp (A).

Installation
1.
Install the bulb.
2.
Install the license lamp lens.

High Mounted Stop Lamp. Repair procedures

Removal
High Mounted Stop Lamp
1.
Disconnect the negative (-) battery terminal.
2.
Remove the rear spoiler.
(Refer to Body - "Rear Spoiler")
3.
Remove the high mounted stop lamp cover (A).

4.
Remove the high mounted stop lamp assembly (A) after loosening screws (4EA).

Installation
1.
Install the high mounted stop lamp.
2.
Install the rear spoiler.
3.
Connect the negative (-) battery terminal.

Luggage Room Lamp. Repair procedures

Removal
1.
Disconnect the negative (-) battery terminal.
2.
Remove the luggage room lamp lens (A) with a flat-tip screwdriver.

3.
Remove the luggage room lamp bulb.

4.
Remove the luggage room lamp assembly after disconnecting the connector (A).

5.
If it is necessary to replace the bulb, replace the luggage room lamp bulb.
Installation
1.
Install the luggage room lamp assembly after connecting the lamp connector.

Rear Combination Lamp. Repair procedures

Removal
1.
Disconnect the negative (-) battery terminal.
2.
Remove the rear combination lamp mounting cap (A).

3.
Loosen the mounting bolts then remove the outside rear combination lamp (A).

4.
Disconnect the rear combination lamp connector (A).

5.
Remove the bulb after turning it in the counter clock-wise direction.

6.
Remove the rear combination cover (A).

7.
Remove the inside rear combination lamp assembly after loosening the nuts and disconnecting the connector.

8.
Remove the bulb after disconnecting the connector.

Installation
1.
Install the tailgate combination lamp assembly after assembling the bulb.
2.
Install the lamp cover to the tailgate after connecting the lamp connector.
3.
Install the rear combination lamp assembly after assembling the bulbs and connecting the lamp connector.

Center Garnish Lamp. Repair procedures

Removal
  
•
When removing with a flat - tip screwdriver or remover, wrap protective tape around the tools to prevent damage to components.
•
Put on gloves to prevent hand injuries.
1.
Disconnect the negative (-) battery terminal.
2.
Remove the rear combination cover (A).

3.
Remove the inside rear combination lamp assembly after loosening the nuts and disconnecting the connector.

4.
Remove the center garnish lamp (A) after loosening mounting nuts.

Installation
1.
Install the center garnish lamp.
2.
Install the inside rear combination lamp.
3.
Connect the negative (-) battery terminal.

    Components and components location Component Location 1. Panorama sunroof 2. Panorama sunroof switch 3. Panorama sunroof motor & controller 4.

    Description and operation Description It's a system that uses illumination sensor to automatically turn ON the tail lamp and head lamp based on the change in surrounding environment's illumination condition.

    Other information:

    Hyundai Santa Fe (TM) 2019-2023 Service and Repair Manual: Power Windows

    Description and operation Function Of Safety Power Window When driver door power window auto-up switch is operated, safety function is activated. 1. Safety function condition When detect the force of 100N (using the 10N/mm spring) during the window rising, window is reversed.

    Hyundai Santa Fe (TM) 2019-2023 Service and Repair Manual: In-car Sensor. Description and operation

    Description The In-car air temperature sensor is built in the heater & A/C control unit. The sensor consists of a thermistor that measures the inside temperature. The signal decided by the resistance value that changes in accordance with perceived inside temperature, is delivered to heater control unit, and according t

    Categories

     
    Copyright © 2026 www.hsafe4.com - 0.0227