Hyundai Santa Fe (TM): Air conditioning System / Ambient Temperature Sensor. Repair procedures

Inspection
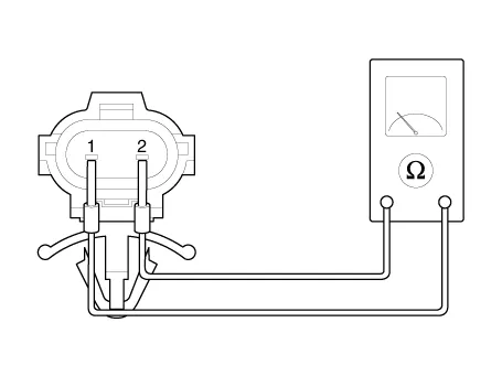
1.
Check the resistance of the ambient temperature sensor between terminals 1 and 2 whether it changes by changing the ambient temperature.

1. Ambient Sensor (+)

2. Sensor ground

Specification
Ambient temperature [°C (°F)]
Resistance between terminals 1 and 2 (kΩ ± 3%)
-30 (-22)
480.41
-20 (-4)
271.21
-10 (14)
158.18
0 (32)
95.1
10 (50)
58.8
20 (68)
37.32
30 (86)
24.26
40 (104)
16.13
50 (122)
10.95

2.
If the measured resistance is not within specification, substitute with a known-good ambient temperature sensor and check for proper operation.
3.
Replace the ambient temperature sensor if it is proved that there is a problem with the sensor.
Replacement
1.
Disconnect the negative (-) battery terminal.
2.
Remove the front bumper.
(Refer to Body - "Front Bumper Assembly")
3.
Disconnect the connector (A) and then remove the ambient temperature sensor (B).

4.
Install in the reverse order of removal.

    Description The ambient temperature sensor is located at the front of the condenser and detects ambient air temperature. It is a negative type thermistor; resistance will increase with lower temperature, and decrease with higher temperature.

    Description The auto defogging sensor is installed on the front window glass. The sensor judges and sends signal if moisture occurs to blow out wind for defogging.

    Other information:

    Hyundai Santa Fe (TM) 2019-2023 Service and Repair Manual: Fuses And Relays

    Components and components location Component Location 1. Engine room relay box 2. Sub relay box 3. ICU Junction block 4. ICM relay box Relay Box (Engine Compartment).

    Hyundai Santa Fe (TM) 2019-2023 Service and Repair Manual: Driver Parking Assistance System

    Desctiprion and operation Description ADAS_PRK is a unit that controls the functions required for ADAS parking. If the ADAS_PRK is applied, the parking distance warning function is also controlled by the ADAS_PRK. System Function Parking Collision-Avoidance Assist (PCA) PCA is a parking safety system

    Categories

     
    Copyright © 2026 www.hsafe4.com - 0.018