| Removal |
Head lamps become very hot during use; do not touch them or any attaching
hardware immediately after they have been turned off.
|
The headlamp bulb should not be removed from the headlamp assembly until
just before a new bulb is installed.
Removing bulb for an extended period of time may affect headlamp bulb
performance.
Contaminants may enter the headlamp assembly where they can settle on
the lens and reflector.
Never turn on the head lamps with the bulb removed from the headlamp
assembly.
|
| 1. |
Disconnect the negative (-) battery terminal.
|
| 2. |
Remove the front bumper cover.
(Refer to Body - "Front Bumper Cover")
|
| 3. |
Disconnecting the lamp connectors (A).
|
| 4. |
Loosen the mounting bolts and then remove the head lamp assembly (A).
|
| 5. |
Disconnect the connector and then remove the bulb.
|
| 1. |
Unfasten the screws and then replace the moisture-absorbing agent .
|
| Installation |
| 1. |
Install the head lamp bulbs.
|
| 2. |
Reassemble the head lamp bulb covers.
|
| 3. |
Reassemble the head lamp assembly after connecting the lamp connector.
|
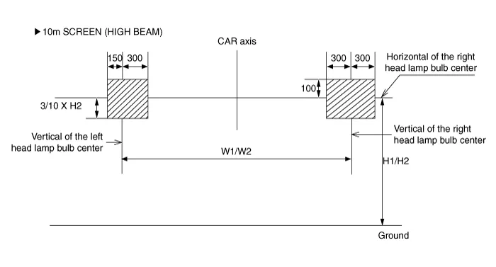
| Head Lamp Aiming Instructions |
| 1. |
Alternately turn the adjusting gear to adjust the head lamp aiming.
If beam-setting equipment is not available, proceed as follows :
|
| 2. |
The vehicle should be placed on a flat ground.s
|
| 3. |
Draw vertical lines (Vertical lines passing through respective head
lamp centers) and a horizontal line (Horizontal line passing through
center of head lamps) on the screen.
|
| 4. |
With the head lamp and battery in normal condition, aim the head lamps
so the brightest portion falls on the horizontal and vertical lines.
A : Horizontal (Low beam)
B : Vertical (High beam / Low beam)
STD (LED MFR)
OPT (LED PROJ)
|

|
Option |
Vehicle Condition |
H1 |
H2 |
W1 |
W2 |
L |
|
LED MFR |
Without driver |
788.6 |
718 |
1518 |
1209 |
Refer to aiming condition |
|
With driver |
783.6 |
713 |
||||
|
LED Projection |
Without driver |
775.6 |
774.9 |
1524 |
1216 |
|
|
With driver |
770.6 |
769.9 |
| 1. |
Head Lamp (Low beam)
|
| 2. |
Head Lamp (High Beam)
|

Specifications Items Bulb Type Bulb Wattage (W) Front Head lamp (STD) Low LED LED High LED LED Head lamp (Option) Low LED LED High LED LED Turn signal lamp (STD) PY21W 21 Turn signal lamp Standard PY21W 21 Option LED LED Position lamp LED LED Daytime Running Lamp (DRL) LED LED Door mirror turn signal lamp LED LED Rear High mounted stop lamp LED LED Rear combination lamp (STD) Stop/ Tail lamp PY21/5W 21 Tail lamp W5W 5 Rear combination lamp (Option) Stop LED LED Tail lamp LED LED Turn signal lamp PY21W 21 Rear fog lamp LED LED Back up lamp W16W 16 License plate lamp W5W 5 Cargo lamp FESTOON 5 Map lamp FESTOON STD : 10 / LED Room lamp FESTOON 10 Vanity lamp FESTOON 5
Removal Outside Rear View Mirror • Put on gloves to prevent hand injuries.
Specifications [BCW, BCA] Items Blind-Spot Collision Warning (BCW) Blind-Spot Collision- Avoidance Assist (BCA) Blind-Spot Collision- Avoidance Assist (BCA) ※Parallel Exit Rated voltage DC 12V Operating vol